7214-B-MP FAG Angular Contact Bearing 70x125x24mm
Couldn't load pickup availability
Product details
- Vendor FAG
- SKU 7214-B-MP-FAG
- Inside diameter (d) 70mm
- Outside diameter (D) 125mm
- Width (B) 24mm
Bearing arrangements must support combined loads, i.e. radial and axial loads acting simultaneously
Moderate to high loads are present on one side
Rigid axial guidance is required
The bearing arrangement must be axially clearance-free or preloaded
High speeds are required under higher radial and axial loads
The bearing arrangement is to run quietly in addition to meeting the requirements stated above
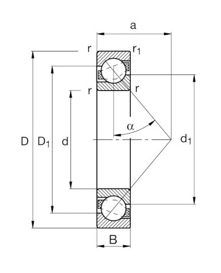
FAG Single row angular contact ball bearings are part of the group of radial ball bearings. The self-retaining units have solid outer and inner rings. The rolling elements are guided by cages made from polyamide, sheet steel, or brass. The bearing rings are designed with one high shoulder and one low shoulder. As a result of the different shoulder heights, the mounting method differs from that of deep groove ball bearings. The possible number of balls for angular contact ball bearings with identical dimensions is higher than for deep groove ball bearings. In contrast to deep groove ball bearings, the raceways on the inner and outer rings are arranged obliquely to each other in the direction of the bearing axis. As a result, the forces are transmitted from one raceway to the other at a defined contact angle (oblique to the radial plane)
For bearing positions with only one bearing each
These angular contact ball bearings can be considered when only one bearing is used per bearing position. As the bearings have standard bearing ring tolerances (they are manufactured to tolerance class Normal), they are not suitable for mounting directly adjacent to each other. In such cases, universal bearings should be used.
Main Dimensions & Performance Data
d 70 mm Bore diameter
D 125 mm Outside diameter
B 24 mm Width
C r 71.000 N Basic dynamic load rating, radial
C 0r 58.000 N Basic static load rating, radial
C ur 4.050 N Fatigue load limit, radial
n G 9.400 1/min Limiting speed
n ur 5.500 1/min Reference speed
1,215 kg Weight
Mounting dimensions
d a min 79 mm Minimum diameter of shaft shoulder
D a max 116 mm Maximum diameter of housing shoulder
D b max 119,4 mm Maximum diameter of housing shoulder
r a max 1,5 mm Maximum fillet radius of shaft
r a1 max 1 mm Maximum fillet radius of housing
Dimensions
r min 1,5 mm Minimum chamfer dimension
r 1 min 1 mm Minimum chamfer dimension
D 1 104 mm Shoulder diameter on outer ring wide side face
d 1 92,32 mm Shoulder diameter on inner ring wide side face
a 53 mm Distance between the apexes of the pressure cones
40 degree Contact angle
Temperature range
T min -30 degree celsius Operating temperature min.
T max 150 degree celsius Operating temperature max.
Design variant B B
Sealing without not sealed
Cage MP solid brass cage, ball guided
Tolerance class P6 Class6 (P6), better than PN
Dimensional / heat stabilization S0 Rings dimensional stabilized up to 150 degree celsius
Lubricant without Bearing not greased
Spend over £50 (excl VAT) and your Shipping is FREE. UK Mainland Only.
We offer a range of shipping options to suit you.
Royal Mail Standard Shipping
£2.00 - Our cheapest shipping method for parcels up to 500g. Parcels are sent using the Royal Mail standard shipping service and usually take 2-5 working days to arrive. This service isn’t tracked at any stage until point of delivery.
Royal Mail Tracked 48
£4.00 - Parcels up to 2kg. Their aim is to deliver in 2-3 working days. You will receive an email from Royal Mail with full tracking details.
Next Working Day – UK Mainland Only
£8.50 – Orders placed before 4pm will be received the next working day, Monday to Friday. You will receive an email from the courier with full tracking details. We tend to use UPS, DPD or Royal Mail Next Day.
Northern Ireland 2 Day Service
£15.00 – This is a two day service to Northern Ireland. You will receive an email from the courier with full tracking details. We tend to use UPS, DPD or Royal Mail.
Northern Ireland Next Day Service
£35.00 - This is a next day service to Northern Ireland. You will receive an email with full tracking details. We tend to use UPS, DPD or Royal Mail Next Day.
Next Working Day AM – Pre 12 UK Mainland Only
£20.00 - Orders placed before 4pm will be received the next working day before Midday. You will receive an email from the courier with full tracking details. We tend to use UPS, DPD or Royal Mail.
Next Working Day AM – Pre 10.30 UK Mainland Only
£25.00 - Orders placed before 4pm will be received the next working day before 10.30am. You will receive an email from the courier with full tracking details.
Scottish Islands 2-3 Day Service
£25.00 - This is a two to three day service. You will receive an email from the courier with full tracking details.
Scottish Highlands 2-3 Day service
£35.00 - This is a two to three day service. You will receive an email from the courier with full tracking details.
SAME DAY TAXI – Please call 01709 527269 for a quote and we will try to accommodate where possible.
Click and Collect
FREE - We offer a Click & Collect service for customers that are able to collect from our premises at Bearing King. Unit 5, Northfield Business Park, Parkgate, Rotherham S60 1SD United Kingdom.
Please note, you will be notified by email when your order is available for collection.
Shipping Internationally – Europe and Rest of the World
We offer a range of options for shipping around the world. These choices will be displayed dependent on your shipping location once the item is in your basket and you are ready to Checkout.
Returns Policy
1. You may return an unused item in new condition unless faulty within 30 days of receipt. Damaged or used goods cannot be refunded.
2. A copy of our returns form must be included with the returned goods.
3. Customers will be responsible for the original and return shipping charges unless our customer service department determines that we are at fault for an order error or product defect. Bearing King will not be responsible for any return item lost in transit.
4. Once we receive the package and the goods are checked, we will refund you by the payment method used when the order was placed.
5. Please allow 3-5 days for your return to be processed or exchange to be sent.
